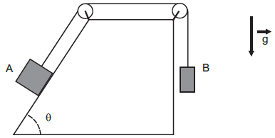
Dois blocos, A e B, de mesma massa m, estão ligados através de um fio inextensível e de massa desprezível, conforme ilustrado na figura abaixo. As polias podem ser consideradas ideais. Os blocos encontram-se em movimento uniforme.

Sabendo-se que a aceleração da gravidade local é g, o coeficiente de atrito entre o corpo A e o plano inclinado é