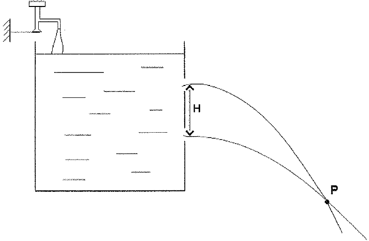
Analise a figura abaixo.

A figura mostra um recipiente sendo abastecido, em cada segundo, com 140cm3 de água. Esse recipiente apresenta dois jatos de água saindo por orifícios de mesma área, S=0,20cm2. A distância entre os orifícios é igual a H=50cm. Para que o ponto P de interseção dos jatos permaneça em repouso, qual é o valor da soma das velocidades, em m/s, com que os jatos d'água saem dos orifícios?
Provas
Questão presente nas seguintes provas