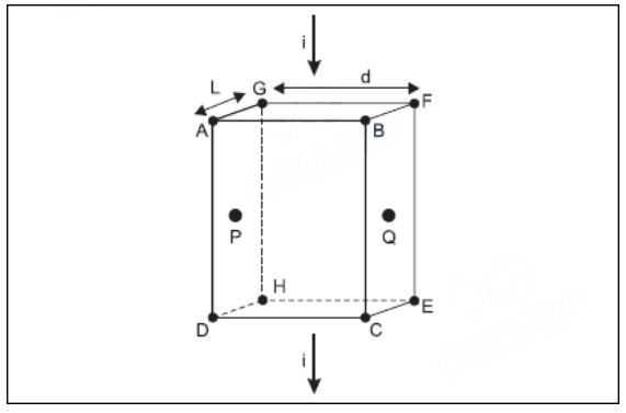
Em 1879, Edwin Hall mostrou que, numa lâmina metálica, os elétrons de condução podem ser desviados por um campo magnético, tal que no regime estacionário, há um acúmulo de elétrons numa das faces da lâmina, ocasionando uma diferença de potencial !$ V_H !$ entre os pontos P e Q, mostrados na figura.

Considere, agora, uma lâmina de cobre de espessura L e largura d, que transporta uma corrente elétrica de intensidade i, imersa no campo magnético uniforme !$ overrightarrow{B} !$ que penetra perpendicularmente a face ABCD, no mesmo sentido de C para E. Assinale a alternativa correta.