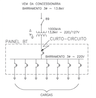
A figura a seguir representa um diagrama unifilar de uma instalação elétrica que sofreu curto-circuito.

As impedâncias de sequência positiva e negativa do transformador podem ser representadas, respectivam ente, por Z1 e Z2. No momento do curto-circuito, a rede a montante do transformador pode ser representada por uma fonte de tensão Vrede em série com uma impedância Zrede e os cabos entre o transformador e o Painel BT possuem impedância Zcabo. Considerando-se que o curto-circuito em referência é trifásico e que as cargas alimentadas pelo Painel BT são resistivas, o diagrama unifilar correspondente é apresentado na alternativa: