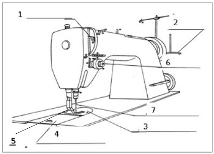
Preencha as lacunas de acordo com a figura abaixo.

Figura 1: Esboço de uma máquina de costura reta plana
( ) regulador da tensão da linha
( ) chapa móvel
( ) esticador de linha
( ) calcador
( ) agulha
( ) suporte de fios (linhas)
( ) chapa fixa
Marque a alternativa CORRETA.