
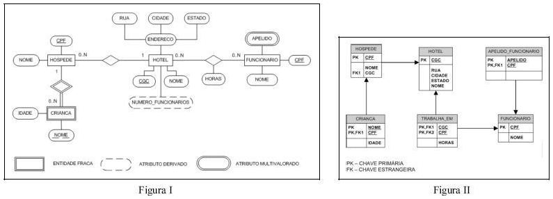
Considerando as figuras I e II acima, que apresentam, respectivamente, um modelo de entidades e relacionamentos e um esquema
resumido do banco de dados relacional, julgue os itens subseqüentes.
Segundo a figura I, para identificar uma entidade do tipo CRIANCA, é necessário identificar uma entidade do tipo HOSPEDE; para cada entidade do tipo HOTEL, o atributo NOME tem valor único; para cada entidade do tipo FUNCIONARIO, o atributo APELIDO pode ter um conjunto de valores. O atributo HORAS pode ser migrado para a entidade FUNCIONARIO.