935021
Ano: 2016
Disciplina: Desenho Técnico e Industrial
Banca: Pref. Montes Claros-MG
Orgão: Pref. Montes Claros-MG
Disciplina: Desenho Técnico e Industrial
Banca: Pref. Montes Claros-MG
Orgão: Pref. Montes Claros-MG
Provas:
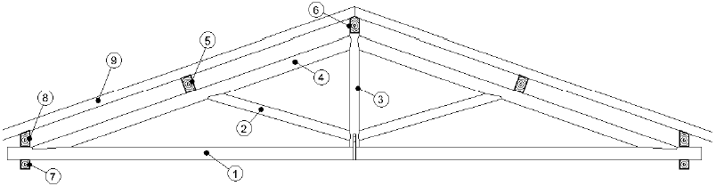
A figura abaixo representa as diversas peças da estrutura de um telhado. A questão deve ser respondida de acordo esta figura.

Caibro é o nome da peça de número