Magna Concursos
293455 Ano: 2012
Disciplina: Engenharia Mecânica
Banca: CESGRANRIO
Orgão: Petrobrás
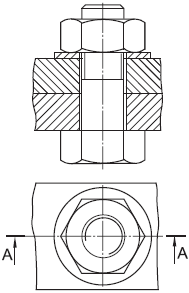
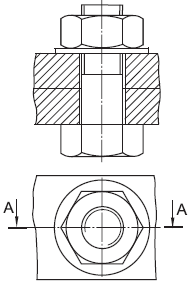
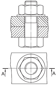
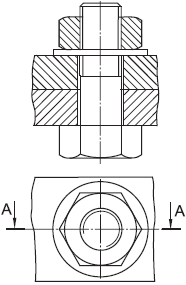
A NBR 10067/1995 fixa a forma de representação aplicada em desenho técnico. A NBR 12298/1995 estabelece a representação de área de corte por meio de hachuras. A NBR 8993/1985 apresenta a representação convencional de partes roscadas em desenhos técnicos.
Com base nessas normas, qual é a figura que representa a junta aparafusada em duas vistas, no primeiro diedro?
 

Provas

Questão presente nas seguintes provas

Técnico de Manutenção - Caldeiraria

60 Questões