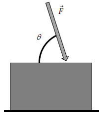
Um bloco repousa sobre uma superfície plana, fixa, e sofre ação de uma força !$ \vec{F} !$ orientada conforme a figura a seguir. O coeficiente de atrito estático entre o bloco e a superfície é !$ \mu !$.

Na ausência da gravidade, a condição para que não haja deslizamento do bloco é