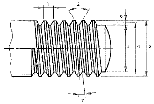
Analise a figura a seguir.

Independentemente da sua aplicação, as roscas têm os mesmos elementos, variando apenas os formatos e dimensões.
Assinale a opção que apresenta a identificação da figura acima.
Provas
Questão presente nas seguintes provas
Quadro Técnico de Praças da Armada - Mecânica
50 Questões