Magna Concursos
2201810 Ano: 2011
Disciplina: Engenharia Química
Banca: CESGRANRIO
Orgão: Petrobrás
Enunciado 3103471-1
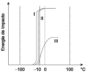
Observando os resultados dos ensaios Charpy para diferentes aços-carbono em função da temperatura, relacione os metais I, II e III, expostos na figura acima, com algumas das características apresentadas abaixo.
P - Tem o maior teor de carbono em relação aos demais.
Q - Tem o menor teor de carbono em relação aos demais.
R - É o mais frágil a 0 ºC.
S - É o mais dúctil a 0 ºC.
T - Alcança a menor altura após o impacto em relação aos demais.
A relação correta é
 

Provas

Questão presente nas seguintes provas

Engenheiro de Equipamentos - Inspeção

70 Questões