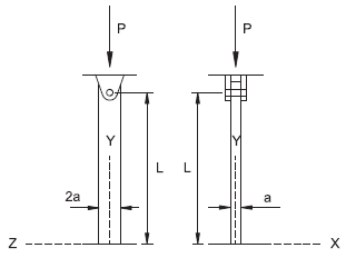
Uma coluna de aço estrutural deve suportar uma carga axial P, conforme ilustrado na figura.

A extremidade inferior da coluna está engastada. O dispositivo pino e suporte, na extremidade superior da coluna, permite rotação em torno do pino, mas evita rotações em torno do eixos y e z.
Qual o valor da carga máxima P que a coluna pode suportar sem flambar?