Analise o circuito abaixo.

Assinale a opção que identifica corretamente o tipo de circuito acima apresentado e a tensão indicada no voltímetro V, respectivamente.
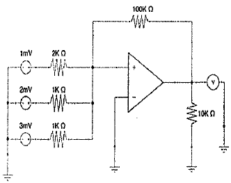
Analise o circuito abaixo.

Assinale a opção que identifica corretamente o tipo de circuito acima apresentado e a tensão indicada no voltímetro V, respectivamente.