- Instalações ElétricasSubestaçõesCustos, diagramas unifilares básicos, tipos de barramentos, sistemas auxiliares

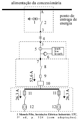
A figura acima mostra parte do diagrama unifilar de uma instalação elétrica conectada à rede da concessionária de energia elétrica. Na instalação como um todo, existem diversos equipamentos, mas na figura são mostrados apenas os equipamentos do lado de alta tensão. Com relação a essas informações, julgue os itens subseqüentes.
Os equipamentos 5 e 6, no diagrama, são necessários para a adaptação dos níveis de sinal visando à alimentação de medidores de energia ativa e reativa.