
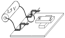
A análise da figura, que representa um arranjo experimental constituído por uma pilha, uma espira, ímãs e dois suportes metálicos, permite afirmar:
O arranjo experimental evidencia o princípio de funcionamento de um motor elétrico.
O arranjo experimental evidencia o princípio de funcionamento de um motor elétrico.
Provas
Questão presente nas seguintes provas