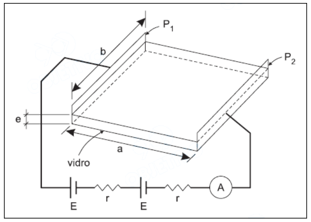
No Laboratório de Plasmas Frios do ITA é possível obter filmes metálicos finos, vaporizando o metal e depositando-o por condensação sobre uma placa de vidro. Com o auxílio do dispositivo mostrado na figura, é possível medir a espessura e de cada filme. Na figura, os dois geradores são idênticos, de f.e.m. E = 1,0 V e resistência r = 1,0 !$ Ω !$, estando ligados a dois eletrodos retangulares e paralelos, !$ P_1 !$ e !$ P_2 !$, de largura b = 1,0 cm e separados por uma distância a = 3,0 cm. Um amperímetro ideal A é inserido no circuito, como indicado. Supondo que após certo tempo de deposição é formada sobre o vidro uma camada uniforme de alumínio entre os eletrodos, e que o amperímetro acusa uma corrente i = 0,10 A , qual deve ser a espessura e do filme? (resistividade do alumínio !$ ρ= 2,6 . 10^{–8} Ω.m !$ ).
