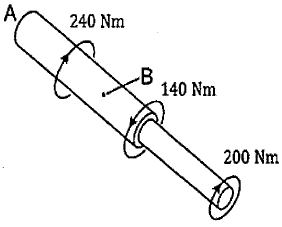
Qual o valor do torque da resultante interna na seção transversal do ponto B da figura abaixo? Considere que o eixo encontra-se engastado no ponto A

Qual o valor do torque da resultante interna na seção transversal do ponto B da figura abaixo? Considere que o eixo encontra-se engastado no ponto A
