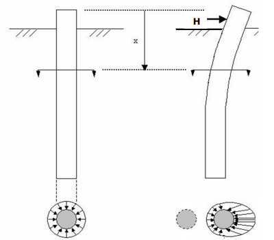
Considere uma estaca de seção circular,escavada, de grande diâmetro, cuja finalidade é aexecução de fundações profundas para sustentaçãode uma ponte. A estaca estará submetida, além doesforço axial, a esforço horizontal oriundo do tráfego.Assim, considerando a figura e os dadosapresentados, calcule a pressão lateral sobre oterreno e o momento em 0,1 e 0,5 do comprimentoda estaca provocado pelo carregamento horizontal, apartir de sua cota de arrasamento (cabeça).
Dados: • H (esforço horizontal) = 0,1MN • d (diâmetro da estaca) = 1,0 m • t (comprimento da estaca) = 9,8 m • Tipo de solo: Areia medianamente compacta
Tabela de relação comprimento (t) x profundidade (z)– coeficientes:
Onde: z é a profundidade em metros; t é o comprimento da estaca em metros a partir de sua extremidade superior; β3 é o coeficiente adimensional de proporcionalidade ao comprimento elástico da estaca para a pressão lateral no terreno; α3 é o coeficiente adimensional de proporcionalidade ao comprimento elástico da estaca para o momento.
Fórmulas: σm = H/d.t (pressão lateral média exercida pela estaca sobre o terreno – MN/m2); σH (z/t) = β3.σm (pressão lateral pontual exercida pela estaca sobre o terreno – MN/m2); M (z/t) = α3.H.t (momento gerado pelo esforço horizontal sobre a estaca – MN.m). Então, os valores das pressões laterais exercidas sobre o terreno e dos momentos na estaca para σH (0,1); σH (0,5) em MN/m2 e M(0,1); M(0,5) em MN.m são, respectivamente,
Dados: • H (esforço horizontal) = 0,1MN • d (diâmetro da estaca) = 1,0 m • t (comprimento da estaca) = 9,8 m • Tipo de solo: Areia medianamente compacta
Tabela de relação comprimento (t) x profundidade (z)– coeficientes:
Onde: z é a profundidade em metros; t é o comprimento da estaca em metros a partir de sua extremidade superior; β3 é o coeficiente adimensional de proporcionalidade ao comprimento elástico da estaca para a pressão lateral no terreno; α3 é o coeficiente adimensional de proporcionalidade ao comprimento elástico da estaca para o momento.
Fórmulas: σm = H/d.t (pressão lateral média exercida pela estaca sobre o terreno – MN/m2); σH (z/t) = β3.σm (pressão lateral pontual exercida pela estaca sobre o terreno – MN/m2); M (z/t) = α3.H.t (momento gerado pelo esforço horizontal sobre a estaca – MN.m). Então, os valores das pressões laterais exercidas sobre o terreno e dos momentos na estaca para σH (0,1); σH (0,5) em MN/m2 e M(0,1); M(0,5) em MN.m são, respectivamente,
Provas
Questão presente nas seguintes provas
Analista de Infraestrutura - Engenharia Civil
60 Questões