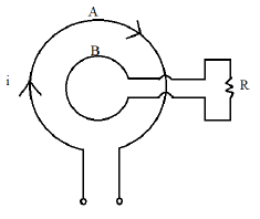
Considere duas espiras concêntricas, conforme a figura a seguir. A espira externa A é alimentada por uma fonte de tensão que gera uma corrente no sentido horário que, por sua vez, aumenta de intensidade com o tempo. A segunda espira B é ligada a um resistor R (conforme a figura). O sentido da corrente e do campo magnético gerado por indução na segunda bobina B é representado pela figura (Convenção: x – entrando no plano do papel e • significa saindo do plano do papel)
