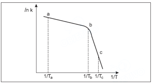
A figura abaixo mostra como o valor do logaritmo da constante de velocidade (k) da reação representada pela equação química A !$ xrightarrow{ k } !$ R varia com o recíproco da temperatura.
Considere que, em relação às informações mostradas na figura, sejam feitas as afirmações seguintes:

I. O trecho a – b da curva mostra a variação de ln k da reação direta (A → R) com o recíproco da temperatura, enquanto o trecho b – c mostra como varia ln k da reação inversa (R → A) com o recíproco da temperatura.
II. Para temperaturas menores que !$ T_b !$, o mecanismo controlador da reação em questão é diferente daquele para temperaturas maiores que !$ T_b !$.
III. A energia de ativação da reação no trecho a – b é menor que a no trecho b – c.
IV. A energia de ativação da reação direta (A → R) é menor que a da reação inversa (R → A) .
Das afirmações acima, está(ão) correta(s)