
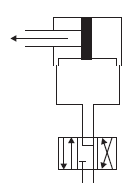
Analisando a representação esquemática do sistema de acionamento hidráulico ilustrado na figura acima, conclui-se que esse sistema aciona um cilindro de

Analisando a representação esquemática do sistema de acionamento hidráulico ilustrado na figura acima, conclui-se que esse sistema aciona um cilindro de