Magna Concursos
3519836 Ano: 2025
Disciplina: Engenharia Mecânica
Banca: IF-SUL
Orgão: IF-SUL

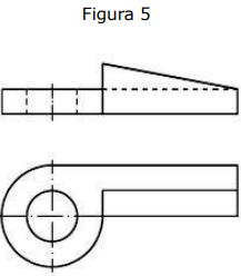
Observe as vistas ortogonais a seguir.

Enunciado 4190138-1

Fonte:o autor

 

Provas

Questão presente nas seguintes provas