Magna Concursos
3592840 Ano: 2025
Disciplina: Desenho Técnico e Industrial
Banca: CEFET-MG
Orgão: CEFET-MG

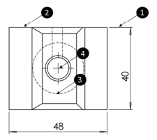
Analise a vista do desenho.

Enunciado 4173654-1

Os números destacados no desenho indicam linhas de:

 

Provas

Questão presente nas seguintes provas

Técnico de Laboratório - Mecânica

50 Questões