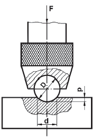
A figura abaixo representa, esquematicamente, um ensaio mecânico destrutivo realizado em um corpo de prova.

O procedimento que consiste em comprimir, por meio de uma carga F, uma esfera de aço temperado, de diâmetro D, sobre uma superfície plana e polida do corpo de prova, durante certo intervalo de tempo, produzindo uma calota esférica de diâmetro d e profundidade p, constitui um ensaio de
Provas
Questão presente nas seguintes provas