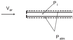
A figura apresenta um tubo de Pitot que mede a velocidade relativa de um fluxo de ar. A pressão Pi é igual à pressão do ponto de estrangulamento em frente ao tubo, enquanto a pressão atmosférica Patm é medida na parte externa (“furada”) do tubo.

Sabendo-se que Pi − Patm = 3,84 kPa, conclui-se que a velocidade relativa do ar, em relação ao tubo, em m/s, é de
Dado: ρar = 1,2 kg/m3