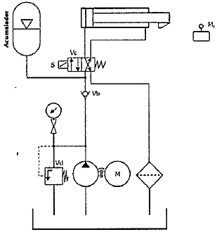
Analise o circuito a seguir:

O circuito hidráulico acima apresenta os seguintes elementos, de acordo com a norma ANSI (American National Standards lnstitute):
Provas
Questão presente nas seguintes provas
Quadro Técnico de Praças da Armada - Mecânica
50 Questões