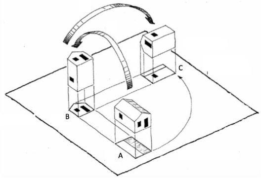
De acordo com Gildo Montenegro (1978), em “Desenho Arquitetônico”, as letras A, B e C da imagem abaixo apresentam, respectivamente, vistas do tipo:

De acordo com Gildo Montenegro (1978), em “Desenho Arquitetônico”, as letras A, B e C da imagem abaixo apresentam, respectivamente, vistas do tipo:
