
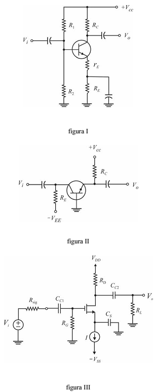
Julgue o item seguinte, referente aos amplificadores mostrados nas figuras I, II e III.
O circuito da figura I é um amplificador na configuração emissor comum com resistência de emissor. O valor do resistor rE influencia a impedância de entrada do circuito.