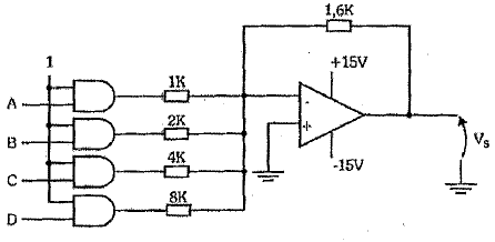
Observe o circuito a seguir.

Considerando que as portas lógicas do circuito conversor D/A da figura acima pertencem à família TTL (nível lógico 0= 0 V e nível lógico 1 = 5 V), assinale a opção que apresenta o valor da tensão analógica Vs quando as entradas forem: A 1, B = 0, C = 1 e D= 0.