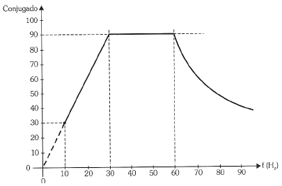
Seja o gráfico apresentado a seguir a curva operacional proposta por um fabricante para um motor de indução trifásico IP55 auto-ventilado, com tensão 220 V e frequência 60 Hz, acionado por meio de um inversor de frequência.

Considerando os três intervalos de frequência de acionamento, 10 a 30 Hz, 30 a 60 Hz e 60 a 90 Hz, a recomendação do fabricante justifica-se uma vez que
Provas
Questão presente nas seguintes provas