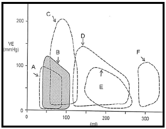
O gráfico abaixo representa relação entre
volume e pressão intracavitária do ventrículo
esquerdo em seis situações clínicas. O ciclo B
representa a situação normal e os demais
ciclos, as situações patológicas.

Considere as propostas abaixo, relacionando aos ciclos cardíacos, e escolha a alternativa com a sequência correta.

Considere as propostas abaixo, relacionando aos ciclos cardíacos, e escolha a alternativa com a sequência correta.
Provas
Questão presente nas seguintes provas