
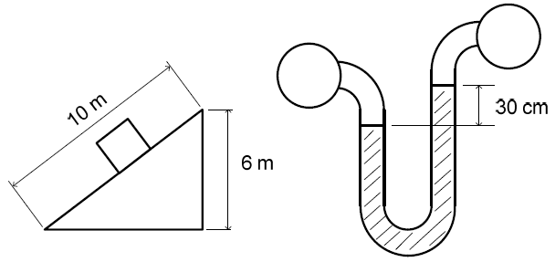
Em um laboratório localizado em um planeta desconhecido, um grupo de pesquisadores observa o deslizamento de um bloco em um plano inclinado. Nota-se que o bloco parte do repouso e atinge o final da rampa em 10 segundos e com velocidade de 4 m/s. Neste mesmo ambiente, encontra-se instalado um manômetro do tipo “tubo em U” que tem por objetivo medir o diferencial de pressão entre dois reservatórios que se localizam em cada ponta do tubo. Sabe-se que o fluido manométrico é feito através da mistura da mesma quantidade em massa de dois óleos miscíveis distintos. Levando em conta os dados abaixo, pode-se afirmar que o coeficiente de atrito (dinâmico) entre o bloco e o plano inclinado na situação física descrita é:
Dados:
• altura máxima do plano em relação à horizontal: 6 m;
• comprimento da rampa: 10 m;
• diferença entre as pressões nos reservatórios: 0,18 kPa;
• cota de desnível do fluido manométrico: 30 cm;
• massas específicas dos óleos: 0,3 g/cm3, 0,9 g/cm3.
Observação:
• considere que a massa, em kg, da mistura dos óleos é igual a soma das massas, em kg, das massas de cada óleo.