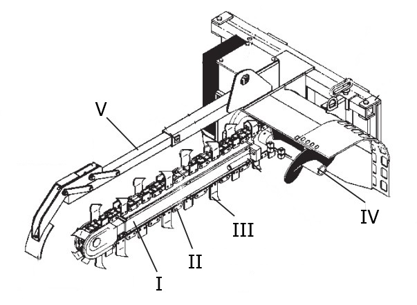
Quanto ao equipamento mostrado na figura acima, assinale a alternativa correta.
O equipamento mostrado é uma perfuratriz direcional.
O componente I é denominado guia protetora e tem como função a proteção do operador.
O componente II é denominado cremalheira e possui movimento cíclico alternativo, isto é, desliza por 5 s, para a direita e, por 5 s, para a esquerda, repetidamente.
O componente III é denominado dente e tem como função o corte do terreno e a movimentação de resíduo.
O componente IV é a turbina de ventilação que refrigera o conjunto motor.
Olá, para continuar, precisamos criar uma conta! É rápido e grátis.