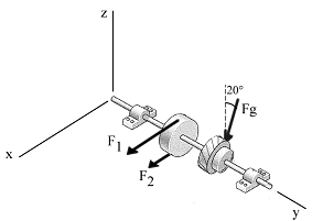
A Figura a seguir apresenta um eixo no qual estão montados uma polia e uma engrenagem helicoidal. Na polia, as forças F1 e F2 são paralelas ao eixo x e F1 > F2. A linha de ação da força Fg, sobre a engrenagem, é paralela ao plano xz e forma um ângulo de 20° com a vertical. Sobre este sistema mecânico, analise os itens a seguir e marque a opção CORRETA.

I. Por ter apenas componentes radial e tangencial, a força Fg não produz carregamento axial no eixo;
II. A polia produz um momento fletor no eixo no mesmo plano do momento fletor gerado pelo carregamento tangencial na engrenagem;
III. A torção no eixo é gerada pelos carregamentos na engrenagem e na polia.