Magna Concursos
2981075 Ano: 2019
Disciplina: Engenharia Elétrica
Banca: Marinha
Orgão: Marinha

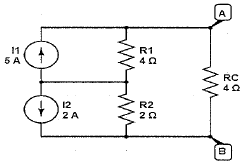
Dado o circuito abaixo determine a corrente no resistor Rc e assinale a opção correta.

Enunciado 3365547-1

 

Provas

Questão presente nas seguintes provas