
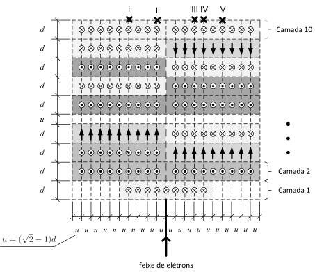
Um feixe de elétrons penetra em uma região, dividida em camadas espaçadas de acordo com as dimensões mostradas na figura, que está sujeita a um campo magnético heterogêneo. Em cada camada, a direção e o sentido do campo magnético mudam (vide figura), mas seu módulo será sempre constante. Note que na figura existem áreas desprovidas de campo magnético. Sabendo que, após passar pela primeira camada, o feixe descreve um arco de 1/8 de circunferência, ele sairá na camada 10 no ponto: