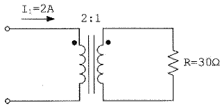
Observe a figura a seguir.

A figura acima representa uma carga !$ R = 30 \Omega !$ alimentada por um transformador monofásico ideal, em que a corrente do primário é 2A. Assinale a opção que apresenta o valor de potência dissipada na carga em Watt.
Provas
Questão presente nas seguintes provas