2854409
Ano: 2023
Disciplina: Engenharia Mecânica
Banca: VUNESP
Orgão: Pref. Pindamonhangaba-SP
Disciplina: Engenharia Mecânica
Banca: VUNESP
Orgão: Pref. Pindamonhangaba-SP
Provas:
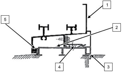
Observe a imagem e assinale a alternativa que identifica, correta e respectivamente, as partes que compõem a esquadria.

(https://edisciplinas.usp.br/pluginfile.php/5075685/mod_ resource/content/1/Apostila_esquadrias.pdf)