
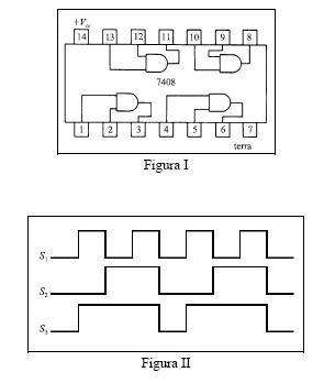
As figuras I e II acima mostram, respectivamente, um circuito integrado do tipo TTL padrão e um conjunto de três sinais digitais S1, S2 e S3. Considere que o dispositivo está em perfeito estado e, quando for o caso, corretamente alimentado. Nessas condições, julgue os itens abaixo, relativos a esse dispositivo TTL.
Comparado com um circuito equivalente fabricado com tecnologia CMOS, o circuito integrado TTL tem como vantagens o valor muito maior de fan-out e um consumo de energia muito menor. Entretanto, os dispositivos CMOS são sempre mais rápidos que os dispositivos TTL.