Analise as vistas ortográficas a seguir.

Assinale a opção que completa corretamente as lacunas da sentença abaixo. Em relação as vistas ortográficas acima, é correto afirmar que:
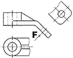
a vista foi omitida para representação da vista auxiliar, pois a face identificada com a letra F é oblíqua em relação aos planos e .
Provas
Questão presente nas seguintes provas
Corpo Auxiliar de Praças - Estruturas Navais
50 Questões