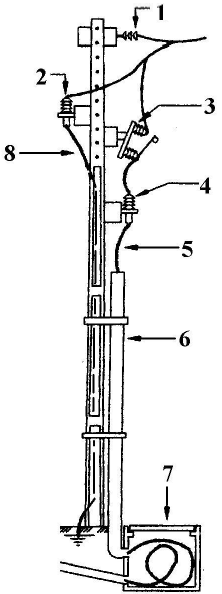
A figura abaixo mostra a entrada de uma instalação elétrica alimentada em média tensão, cujos dispositivos estão numerados de 1 a 8.

Marque a alternativa que apresenta os dispositivos na ordem numérica crescente.
Provas
Questão presente nas seguintes provas
Agente de Saneamento - Técnico em Eletrotécnica
40 Questões