Magna Concursos
2427727 Ano: 2012
Disciplina: Engenharia Mecânica
Banca: IFPI
Orgão: IFPI
Provas:

Enunciado 2427727-1

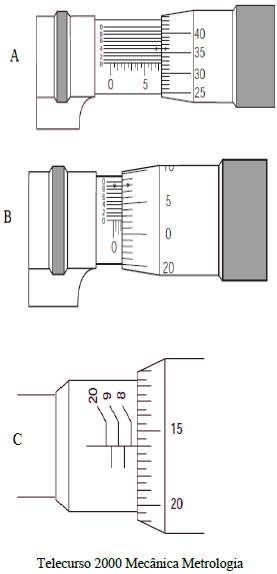
De acordo com os micrômetros indicados acima, as leituras apresentadas pelos instrumentos A, B e C são, respectivamente:

 

Provas

Questão presente nas seguintes provas

Técnico de Mecânica

50 Questões