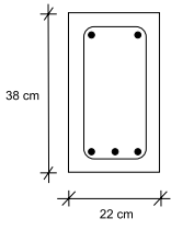
A figura a seguir representa a seção transversal de uma viga em concreto com engastamento na extremidade da laje, cuja espessura é de 10 cm. Sabendo que o comprimento dessa viga é de 850 cm, a área da forma em contato com a peça, em m², é de, aproximadamente,
