Magna Concursos
3911072 Ano: 2025
Disciplina: Edificações
Banca: VUNESP
Orgão: UNESP
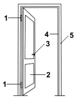
Observe a figura a seguir, que mostra os principais componentes de uma porta de madeira comum:
Enunciado 4768312-1 (Arquivo pessoal; imagem usada com autorização)

A sequência de instalação recomendada é
 

Provas

Questão presente nas seguintes provas