Magna Concursos
2615555 Ano: 2022
Disciplina: Engenharia Mecânica
Banca: Marinha
Orgão: Marinha

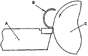
Observe a figura a seguir.

Enunciado 2615555-1

Assinale a opção que identifica corretamente A, B e C, da figura acima, respectivamente.

 

Provas

Questão presente nas seguintes provas

Corpo Auxiliar de Praças - Mecânica

50 Questões