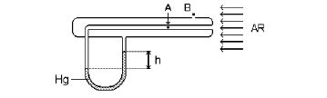
A figura abaixo ilustra o tubo Venturi, que permite determinar o módulo do volume escoado de um líquido no interior de uma tubulação. Esse dispositivo é constituído por um tubo em U com mercúrio (tubo manométrico), com um ramo ligado a um segmento normal da tubulação e o outro ligado a um segmento com um estrangulamento.

Provas
Questão presente nas seguintes provas