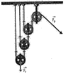
Um marinheiro utiliza uma associação de roldanas, como a da figura abaixo, para erguer um barco de peso p = 1600 N.

Sabendo-se que essa associação tem 3 roldanas móveis, qual deve ser a força aplicada pelo marinheiro para manter o barco em
equilíbrio?
equilíbrio?