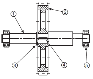
Observe o desenho abaixo.

Sobre esse desenho, considere as identificações a seguir.
I - A peça 1 é um eixo escalonado.
II - A peça 2 é uma engrenagem cilíndrica de dentes retos.
III - A peça 3 é um espaçador.
IV - A peça 4 é uma chaveta plana.
V - A peça 5 é um rolamento de contato angular de esferas.
Está correto APENAS o que se identifica em