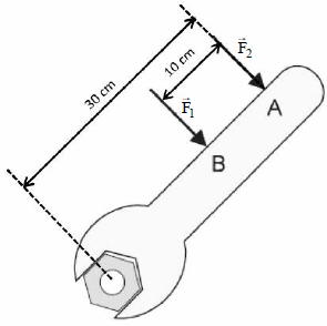
Carlos, professor de Física, procurou, em uma de suas aulas, discutir com seus alunos a facilidade de girar uma porca, com auxílio de uma chave, conforme a figura a seguir. Explicou, então, aos alunos que, para que as forças F1 e F2 , de instensidades distintas, possibilitem à porca, a mesma facilidade de girar em torno do seu eixo, o valor da intensidade de F2 deverá ser:

Provas
Questão presente nas seguintes provas