Magna Concursos
3236836 Ano: 2015
Disciplina: Engenharia Mecânica
Banca: UFGD
Orgão: UFGD

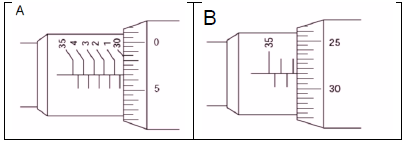
Com relação às figuras A e B, assinale a alternativa correta:

Enunciado 3577800-1

 

Provas

Questão presente nas seguintes provas

Técnico - Engenharia Mecânica

50 Questões